曜日別特売

沸騰防止弁

沸騰防止弁 - 兼工業沸騰防止弁 - 兼工業
(2件のレビュー)

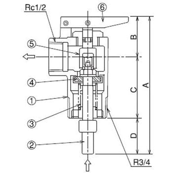
焼却兼用の(マキ・ゴミ等)給湯機の缶体に取り付け、87℃になると自動的に開弁し、
缶体を保護する沸騰防止弁です。

材質本体:CAC406、閉弁用ばね:SUS304、ディスク:合成ゴム、スピンドル:C3604、手動レバー:SPCC呼び径20ミリ、3/4インチ最高使用圧力(MPa)0.15使用流体上水・温水最高使用温度(℃)100作動温度(℃)(開弁):87±2、(閉弁):80以上内容量1個
1件中 11各品番毎の詳細は注文コードをクリックしてください
注文コード
品番
寸法A(mm)
寸法B(mm)
寸法C(mm)
寸法D(mm)
参考基準価格 (税別)販売価格(税別)販売価格(税込)
出荷目安
数量
54649754NBT20(95)(28)43(24)
11,500
9,998
10,998(税込)
当日出荷
各品番毎の詳細は注文コードをクリックしてください
購買の手間を削減したい、経費精算を楽にしたい。そんなお悩み解決します

商品レビュー

平均満足度:
総レビュー件数:2
毎月抽選で1,000名様500円クーポンをプレゼント!商品レビューを投稿する
対象商品 : 54649754
2022-03-06
用途: マキ焚きボイラーの部品
川瀬設備建設業・工事業

メーカーの方で供給不可で、代わりに取付しました。
大変助かりました。ありがとうございました。

対象商品 : 54649754
2020-10-29
用途: ボイラーに使用
農・林・水産業

古くなり動作不具合になった為、交換しました。
正常に動作して大変満足しています。

1が参考にしています

よくあるご質問(FAQ)

ご質問は製品仕様に関する内容に限らせて頂きます。

水栓部品」にはこんなカテゴリがあります

シェアする
この商品についてXでポストする
この商品についてFacebookでシェアする