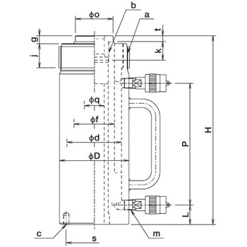
中空ジャッキはジャッキ中心部に貫通穴があり原子力発電所、トンネル工事、地下鉄工事等のPC工法、ほか多方面に採用されております。
ピストンロッドはメッキ付です。
許容横荷重は揚力の1/20です。
押引共油圧作動です。
ピストンロッドに付着するゴミ除去用ダストシール付。
サドルはネジ込みタイプです。
ピストンロッド内側にネジを設けています。
複動H(油圧戻り)タイプ
吊環付、ブッシング+B-9J
| 地域 | 単位 | 配送費 |
|---|---|---|
| 全国 | 1 | ¥3,000/税込¥3,300 |
| 北海道地方 | 1 | ¥5,000/税込¥5,500 |
| 沖縄地方 | 1 | お送りできません |
| 離島 | 1 | お送りできません |


